碰塊
- 產品介紹
- 行程限位開關
- 1.使用於運動控制時的限位開關機械感應塊
- 2.使用於運動控制時的限位原點機械感應塊
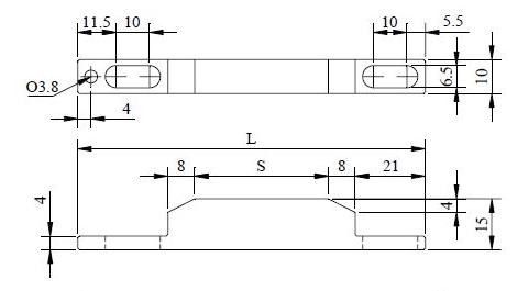
標準原點碰塊
基本尺寸 Unit:mm
| TYPE | S | L |
|---|---|---|
| D-40 | 40 | 104 |
| D-63 | 63 | 127 |
| D-80 | 80 | 144 |
緊急碰塊
基本尺寸 Unit:mm
| TYPE | S | L |
|---|---|---|
| D-08 | 8 | 41 |
| D-25 | 25 | 83 |
.png)